j9九游会·[中国]真人游戏第一品牌

关于j9游会 产品中心 PLC控制柜 风机变频成套控制柜 恒压供水变频控制柜 XL-21动力配电柜 航天200吨惯性摩擦焊机 250吨惯性摩擦焊机 解决方案 冶金自动化控制系统 污水处理自动化控制系统 企业能源管理系统 智能制造解决方案 汽车生产线自动化控制系统 电气成套 电厂自动化控制系统 废气处理自动化控制系统 服务与支持 j9九游会·[中国] 真人游戏第一品牌 联系我们 新闻动态 自动化工程 机械手臂 机器人应用

     电厂自动化控制系统

电厂除灰除渣自动化控制系统

1.概述:

    j9游会真人游戏第一品牌电厂1号机组的炉底渣和省煤器、空气预热器的粗灰采取传统的水力除灰、渣系统,每年有大量锅炉冲灰水、冲渣水、渣斗溢流水排放入灰场,在灰场固体沉淀后废水排入长江,造成大量的能源浪费和环境污染。水力除灰、除渣系统降低了灰渣的活性和综合利用效益,同时为冲灰冲渣水设置灰场也占用了j9游会真人游戏第一品牌宝贵的土地资源。为节约能源,减少环境污染,节约土地资源,提高灰渣的综合利用价值,灰渣采取负压气力除灰系统和风冷式干除渣系统进行收集,并将收集后的灰渣正压压送至煤粉公司处理后综合利用。

    灰处理湿出灰改干出灰的改造也是提高灰处理控制系统改造的自动化水平的改造,j9游会真人游戏第一品牌此次改造中用PLC技术代替了继电器控制系统,使得灰处理控制系统自动化水平提高成为可能。在本次改造中我们设置了1号机组单元灰处理PLC控制系统一套,负责干灰收集系统、干渣收集、干渣压送系统的控制,在1号机EP室设一台工控机为单元灰处理PLC提供操作界面;设置一套公用PLC控制系统,负责三台机组的干灰压送、干渣压送管道切换、协调6台空压机的运行等,在1号机灰压送室设一台工控机为公用灰处理PLC提供操作界面。

2.控制系统硬件配置:

   系统硬件采用施耐德Quantum系列PLC,组态软件采用施耐德自己开发的Concept2.0软件;画面编制采用Wondeware公司的INTOUCH9.0;INTOUCH与PLC的通讯采用以太网MODIBUS协议;

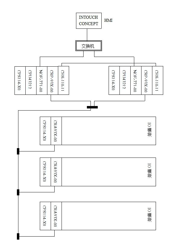
   #1机组单元灰处理PLC系统采用双CPU、双网络,分为三个IO站,第一个IO站主要负责干渣收集;第二、三个站主要负责干灰收集和干渣压送;

   公用PLC采用单CPU,负责三台机组的干灰压送、干渣压送管道切换、并协调6台空压机的运行;

    #1机组单元灰处理PLC主要硬件配置:

 

代号

名称

数量

140CPU43412

CPU模块

2

140CRA93200

I/O通讯模件(CPU侧)

2

140CRP93200

I/O通讯模件(IO侧)

3

140NOE77100

网络模件

3

140CHS11011

热备模件

2

140CPS11420

电源模件

5

140DDI35300

DI模件(32点)

17

140DO35300

DO模件

(32点不带继电器)

10

140ACI03000

AI模件

(4-20MA 8点)

6

140ARI03010

AI模件(RTD 8点)

2

140ACO02000

AO模件(4点)

3

 

    #1机组单元灰处理PLC系统结构示意图:

 

  

3.控制系统软件设计:

    本系统组态采用FBD功能快,并利用Concept支持自定义模块的功能,j9游会真人游戏第一品牌自定义了电机与电磁阀的DEVICE模块,,将本系统PLC的组态软件Concept做成了DCS化;

 图1.自定义的DEVICE模块

4.控制系统简介:

    本系统分为四个部分:干灰收集系统、干渣收集系统、干灰压送系统、干渣压送系统;

4.1  干灰收集系统:

    干灰收集系统分为四大系统:灰斗、支管、过滤器、负压风机;它由两套可以单独运行的真空飞灰子系统构成。子系统A服务于8个EP灰斗和4个空预器灰斗。EP灰斗被分成两列,而4个空预器灰斗另外构成一列。子系统B与之相类似,服务于两列(每列4个)EP灰斗和一列省煤器灰斗(6个)。独立配置的传输管线、布袋过滤器/收集器和负压风机让j9游会真人游戏第一品牌能够单独对任一子系统进行操作。每个子系统中的飞灰最后都要送入#1灰库,干灰收集系统的负压风机为干灰收集的输送动力源,利用负压风机的抽吸作用,在系统内形成真空,每个灰斗下设有气动物料输送阀,它使灰飞顺利地进入输送管道,灰斗按照程序设定的顺序一个一个分别出灰,当一个灰斗内灰清空,就自动进入下一个灰斗开始出灰,如此循环连续输送;通过A、B两个子系统的切换门与管线,飞灰通过A/B布袋过滤器收集器中的任意一路进入#1灰库,干灰和空气在布袋过滤收集器内分离后,干灰进入#1灰库,而净化的空气则通过负压风机进入大气。中间灰库的干灰再通过干灰压送系统运至煤灰公司原灰库;

    系统真空度根据系统选择过滤器所选的压力变送器来决定,灰斗飞灰排放流程分为4个状态:PSL(灰斗清空值) PSH(灰斗关)、PSML(灰斗允许开)、PSML(灰斗允许开),灰斗的开启由真空值决定,在PSL时打开灰斗,PSH时关闭灰斗,PSMH时再打开灰斗;灰斗在放灰的过程中,灰斗不停地开启和关闭,如此循环反复,最后直至灰斗清空,跳到下一个灰斗出灰。

    飞灰经过切换阀,进入过滤器,过滤器运行规则为:开通气泵与滤布的平衡门->3s后打开顶门,持续一段时间(设定)后关闭顶门->开通气泵与灰库的平衡门->3s后打开底门、打开下部流化门,持续一段时间后关闭底门、关闭下部流化门、通气泵与滤布的平衡门,如此循环。如果在循环的过程中过滤器气锁阀不自动运行了,过滤器气锁阀也要完成一个循环才能完全停下来。

4.2  干灰压送系统

    干灰压送在公用PLC中实现,压灰流程:开压送容器入口门->开灰回收槽出口门->持续120s,如果在120s内出现料位高则停止出灰->关回收槽出口门->关压送容器入口门->5s后开主空气门->持续600s,在这段时间内如果出现从压力高变到压力低,则停止压灰,关闭主空气门->过10s开始循环;

图2.干灰收集

 4.3  干渣收集系统

锅炉炉底渣通过锅炉新建渣井落在MAC机输送钢带上,热渣在输送的过程中被初步冷却,初步冷却后的炉底渣通过一级碎渣机破碎成小于70mm粒经后,进入后续冷却器继续冷却。经过两级冷却后的炉底渣通过三通接头排出,三通接头其中两个出口连接干渣正压压送系统,另外一个出口连接紧急卸渣系统;

 4.4  干渣压送系统

    干渣压送依靠灰用气泵的压力对干渣进行正压压送,三个气泵可以任意选择,但必须保证只能同时只有一个气泵进灰和同时只有一个气泵出灰;

    单个气泵运行顺序:开平衡门(开反吹门)->10s后开进料阀门(关反吹门)->开隔绝门->设定时间到或者料位高持续3s后->关隔绝门->5s后关进料阀门->7s后关平衡门->开进压门->5s出料门根据管道压力开或关->出料门累积开设定时间->关出料门->关进压门;

图3.干渣收集与压送

 5. 小结

    j9游会真人游戏第一品牌电厂1号机组单元灰渣处理改造在技术上有了很大的创新,包括DEVICE的建立、控制思路等等,为今后灰渣系统的PLC控制DCS化奠定了基础。   

 

j9九游会·[中国]真人游戏第一品牌| http://www.hnhemi.com